ТЕХНИЧЕСКИЕ УСЛОВИЯ
1. ОРГАНИЗАЦИИ КОНТЕЙНЕРНОЙ ПЛОЩАДКИ
Контейнерная площадка – место первичного сбора отходов, специальная территория, предназначенная для размещения контейнеров.
Площадка должна иметь ровное асфальтированное или бетонное покрытие на уровне проезжей части, с ограждением из листов металлопрофиля высотой не менее 1,2 метра.
Подъездные пути к контейнерной площадке должны быть сквозными. Ширина проезда должна составлять не менее 6 метров. Контейнерная площадка и подъездные пути должны освещаться.
Не допускается наличие коммуникаций над подъездными путями к площадке и площадкой, расположенных ниже 5,5 метров от уровня проезжей части.
2. ТЕХНИЧЕСКИЕ ХАРАКТЕРИСТИКИ КОНТЕЙНЕРОВ
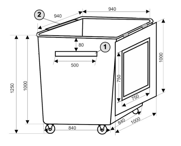
2.1 Металлические контейнеры
|
|
Название | МКВ-0,75 |
|---|---|---|
| Тип | Контейнер металлический без крышки с колесами (боковая и задняя загрузка) |
|
| Глубина, мм | 940 | |
| Ширина, мм | 940 | |
| Высота, мм | 1 250 | |
| Объем, м3 | 0,75 | |
|
① Упор для мусоровоза с боковой загрузкой ② Захват для мусоровоза с задней загрузкой (евро захват) ③ Ручка для удобства передвижения контейнера |
||
|
|
Название | МКВК-0,75 |
| Тип | Контейнер металлический с крышкой, с колесами (боковая и задняя загрузка) | |
| Глубина, мм | 940 | |
| Ширина, мм | 940 | |
| Высота, мм | 1 250 | |
| Объем, м3 | 0,75 | |
|
① Упор для мусоровоза с боковой загрузкой ② Захват для мусоровоза с задней загрузкой (евро захват) |
||
2.1 Пластиковые контейнеры
|
|
Название | MGB-240 |
|---|---|---|
| Тип | Контейнер пластиковый с крышкой, с колесами (боковая и задняя загрузка) |
|
| Глубина, мм | 735 | |
| Ширина, мм | 580 | |
| Высота, мм | 1 090 | |
| Объем, м3 | 0,24 | |
|
|
Название | MGB-770 |
| Тип | Контейнер пластиковый с крышкой, с колесами (боковая и задняя загрузка) |
|
| Глубина, мм | 770 | |
| Ширина, мм | 1 370 | |
| Высота, мм | 1 310 | |
| Объем, м3 | 0,77 | |
| Название | MGB-1100 FD | |
| Тип | Контейнер пластиковый с крышкой, с колесами (боковая и задняя загрузка) |
|
| Глубина, мм | 1 045 | |
| Ширина, мм | 1 380 | |
| Высота, мм | 1 385 | |
| Объем, м3 | 1,1 |










